Geotech calculator From Open source
Back
Calculators
Terzaghi
Shallow Square Footing
Shallow Rectangular footing
Deep Foundation
Deep Footing Calculator
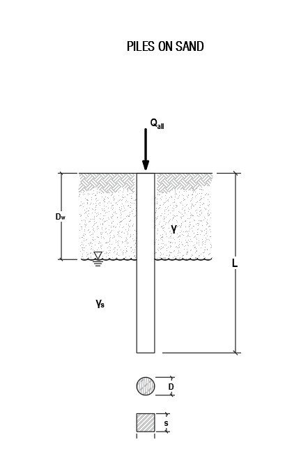
Piles on Sand
Piles on Clay (a)
Piles on Clay (a2)
Piles on Clay (y)
Piles on Clay (y2)
Piles on Clay (B)
Piles on Clay (B2)
Piles Act Individually
Piles Act as Block
Spacing
Shape of Pile
Select shape
Square
Circle
Diameter (d)
m
Type of Sand
Select types of sand
Loose
Dense
Moist Unit Weight (γ)
kN/m
3
Saturated Unit Weight (γ
s
)
kN/m
3
Length of Pile (L)
m
Depth of Water Table (D
w
)
m
Coefficient of Friction (µ)
Bearing Capacity Factor (N
q
)
Lateral Pressure Factor (K)
Factor of Safety (F.S.)
Compute
Clear
Output Values
Ultimate Point Bearing Capacity (Q
b
)
kN
Ultimate Frictional Capacity (Q
f
)
kN
Ultimate Total Capacity (Q
u
)
kN
Allowable Capacity (Q
all
)
kN
Shape of Pile
Select shape
Square
Circle
Side Length / Diameter (s)
m
Unit Weight (y)
kN/m
3
Length of Pile (L)
m
Adhesion Factor (α)
Unconfined Compressive Strength (q
u
)
kN/m
2
Bearing Capacity Factor (N
c
)
Factor of Safety (F.S.)
Compute
Clear
Output Values
End Bearing Capacity (Q
b
)
kN
Frictional Capacity (Q
f
)
kN
Ultimate Load Bearing Capacity (Q
u
)
kN
Allowable Load Bearing Capacity (Q
all
)
kN
Shape of Pile
Select shape
Square
Circle
Side Length (s)/Diameter (d)
m
Unit Weight (y)
kN/m
3
Saturated Unit Weight (ys)
kN/m
3
Length of Pile (L)
m
Depth of Water Table (Dw)
m
Cohesion (C
1
)
kPa
Cohesion (C
2
)
kPa
Adhesion Factor (α
1
)
Adhesion Factor (α
2
)
Compute
Clear
Output Values
Skin Resistance (Qf)
kN
Shape of Pile
Select shape
Square
Circle
Side Length (s)/Diameter (d)
m
Unit Weight (γ)
kN/m
3
Length of Pile (L)
m
Frictional Coefficient (γ)
Unconfined Compressive Strength (q
u
)
kPa
Compute
Clear
Output Values
Skin Friction (Q
f
)
kN
Shape of Pile
Select shape
Square
Circle
Side Length (s)
m
Unit Weight (y)
kN/m
3
Saturated Unit Weight (y
s
)
kN/m
3
Length of Pile (L)
m
Depth of Water Table (Dw)
m
Cohesion (C
1
)
kPa
Cohesion (C
2
)
kPa
Frictional Coefficient (y
1
)
Frictional Coefficient (y
2
)
Compute
Clear
Output Values
Skin Friction (Qf)
kN
Shape of Pile
Select shape
Square
Circle
Side Length (s)
m
Unit Weight (y)
kN/m
3
Length of Pile (L)
m
Drained Friction Angle (ϑR)
deg
Over Consolidated Ratio
Compute
Clear
Output Values
Skin Friction (Qf)
kN
Shape of Pile
Select shape
Square
Circle
Diameter / Side (d)
m
Unit Weight (γ)
kN/m
3
Saturated Unit Weight (γ
sat
)
kN/m
3
Length of Pile (L)
m
Depth of Water Table (D
w
)
m
Drained Friction Angle Layer 1 (φ'
1
)
deg
Drained Friction Angle Layer 2 (φ'
2
)
deg
Over Consolidation Ratio (OCR)
Compute
Clear
Output Values
Skin Friction (Q
f
)
kN
Shape of Pile
Select shape
Square
Circle
Side Length/Diameter
m
Moist Unit Weight (y)
kN/m
3
Length of Pile (L)
m
Center-center Spacing (Sc)
m
Cohesion (C)
Adhesion Factor (α)
Bearing Capacity Factor (Nc)
Number of Piles (n)
Factor of Safety (F.S.)
Number of Column (m)
Number of Rows (r)
Compute
Clear
Output Values
Ultimate Load Bearing Capacity (Q
u
)
kN
Allowable Load Bearing Capacity (Q
all
)
kN
Allowable Load Bearing Capacity (Group in Action using Efficiency)
kN
Shape of Pile
Select shape
Square
Circle
Side Length (s)
m
Moist Unit Weight (y)
kN/m
3
Length of Pile (L)
m
Center-center Spacing (Sc)
m
Cohesion (C)
Adhesion Factor (α)
Bearing Capacity Factor (Nc)
Number of Piles (n)
Factor of Safety (F.S.)
Number of Column (m)
Number of Rows (r)
Compute
Clear
Output Values
Ultimate Load Bearing Capacity (Q
u
)
kN
Allowable Load Bearing Capacity (Q
all
)
kN
Shape of Pile
Select shape
Square
Circle
Side Length (s)
m
Number of Column (m)
Number of Rows (n)
Efficiency (Eg)
Compute
Clear
Output Values
Minimum Pile Spacing (Sc)
m
Preferred Spacing (Sp)
m